专利数据库
统计分析
产业报告
专利数据监控
产业人才
行业动态
产业政策法规
维权援助
个人中心
详情
文本
图像
标题
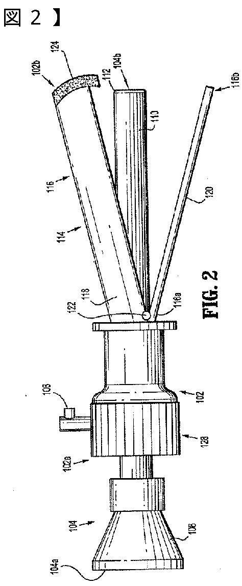
内視鏡清浄器
授权日
2013-12-13
公开(公告)号
JP5432562B2
申请日
2009-03-30
公开(公告)日
2014-03-05
当前申请(专利权)人
コヴィディエン リミテッド パートナーシップ
发明人
ジャスティン アール. プリバニック
简单同族
AU2009201180A1 | AU2009201180B2 | AU2014202916A1 | CA2661238A1 | EP2111782A2 | EP2111782A3 | EP2111782B1 | EP2193742A1 | JP2009261923A | JP5432562B2 | US20090264703A1 | US20120116169A1 | US8550988
简单同族成员数量
13
简单同族被引用专利总数
76
诉讼案件数
0
法律状态/事件
未缴年费
抱歉,您的浏览器不支持PDF预览,请点击链接下载PDF文件