专利数据库
统计分析
产业报告
专利数据监控
产业人才
行业动态
产业政策法规
维权援助
个人中心
详情
文本
图像
标题
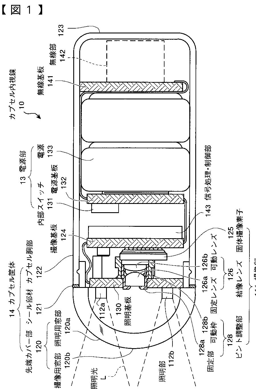
画像表示装置、画像表示方法および画像表示プログラム
授权日
2010-04-16
公开(公告)号
JP4493386B2
申请日
2004-04-15
公开(公告)日
2010-06-30
当前申请(专利权)人
オリンパス株式会社
发明人
本多 武道 | 薬袋 哲夫
简单同族
AU2004233674A1 | AU2004233674B2 | CA2523302A1 | CA2523302C | EP1618828A1 | EP1618828A4 | EP1618828B1 | EP1857042A2 | EP1857042A3 | EP1857042A8 | EP1857042B1 | JP2004337596A | JP2004337596A5 | JP4493386B2 | KR100802839B1 | KR100846549B1 | KR100852321B1 | KR1020060003050A | KR1020070104947A | KR1020070104948A | WO2004096025A1
简单同族成员数量
21
简单同族被引用专利总数
179
诉讼案件数
0
法律状态/事件
授权 | 权利转移
抱歉,您的浏览器不支持PDF预览,请点击链接下载PDF文件