专利数据库
统计分析
产业报告
专利数据监控
产业人才
行业动态
产业政策法规
维权援助
个人中心
详情
文本
图像
标题
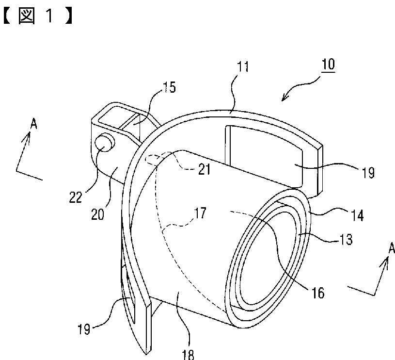
バイトブロック
授权日
2013-10-11
公开(公告)号
JP5385599B2
申请日
2008-12-11
公开(公告)日
2014-01-08
当前申请(专利权)人
日本光電工業株式会社
发明人
井上 正行 | 松原 功 | 鷹取 文彦 | 山森 伸二
简单同族
AT544486T | EP2196236A1 | EP2196236B1 | JP2010136869A | JP5385599B2 | US20100317987A1 | US8430095
简单同族成员数量
7
简单同族被引用专利总数
22
诉讼案件数
0
法律状态/事件
授权
抱歉,您的浏览器不支持PDF预览,请点击链接下载PDF文件