专利数据库
统计分析
产业报告
专利数据监控
产业人才
行业动态
产业政策法规
维权援助
个人中心
详情
文本
图像
标题
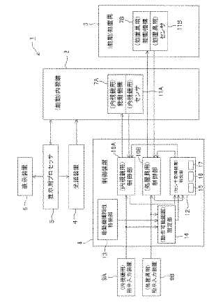
マニピュレータ
授权日
1900-01-01
公开(公告)号
JP2009254519A
申请日
2008-04-15
公开(公告)日
2009-11-05
当前申请(专利权)人
オリンパスメディカルシステムズ株式会社
发明人
梅本 義孝 | 高橋 和彦
简单同族
CN101559596A | CN101559596B | EP2110212A2 | EP2110212A3 | EP2110212B1 | JP2009254519A | JP4705128B2 | US20090259340A1 | US8019473
简单同族成员数量
9
简单同族被引用专利总数
42
诉讼案件数
0
法律状态/事件
授权 | 权利转移
抱歉,您的浏览器不支持PDF预览,请点击链接下载PDF文件