专利数据库
统计分析
产业报告
专利数据监控
产业人才
行业动态
产业政策法规
维权援助
个人中心
详情
文本
图像
标题
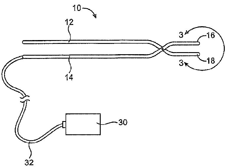
経膣的な子宮動脈閉塞術
授权日
1900-01-01
公开(公告)号
JP2009501029A
申请日
2006-06-30
公开(公告)日
2009-01-15
当前申请(专利权)人
アラゴン サージカル インク
发明人
エーダー ジョセフ | ネジャット カムラン | マローニー ジョン | スターン ロジャー エイ
简单同族
AU2006265681A1 | CN101212932A | EP1898800A2 | JP2009501029A | KR1020080027283A | MX2008000369A | US20070005061A1 | US20070244538A1 | WO2007005791A2 | WO2007005791A3 | WO2007005791B1
简单同族成员数量
11
简单同族被引用专利总数
42
诉讼案件数
0
法律状态/事件
驳回
抱歉,您的浏览器不支持PDF预览,请点击链接下载PDF文件