专利数据库
统计分析
产业报告
专利数据监控
产业人才
行业动态
产业政策法规
维权援助
个人中心
详情
文本
图像
标题
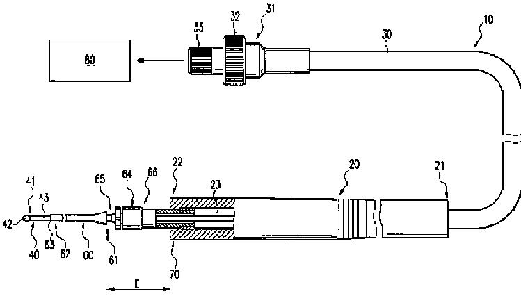
処理対象の生物組織の周辺組織から組織サンプルを分離する凍結手術用器具
授权日
1900-01-01
公开(公告)号
JP2010512873A
申请日
2007-12-11
公开(公告)日
2010-04-30
当前申请(专利权)人
エルベ·エレクトロメディティン·ゲゼルシャフト·ミット·ベシュレンクテル·ハフツング
发明人
イリナ·シーグル | マティアス·フォクトレンダー | ダニエル·シャーラー | マラ·ツァイラッハ | クラウス·フィッシャー
简单同族
CN101563039A | CN101563039B | DE102007020582A1 | EP2114276A1 | EP2114276B1 | JP2010512873A | JP5213873B2 | PL2114276T3 | US20100016847A1 | US8308718 | WO2008074422A1 | WO2008074422A8
简单同族成员数量
12
简单同族被引用专利总数
22
诉讼案件数
0
法律状态/事件
授权
抱歉,您的浏览器不支持PDF预览,请点击链接下载PDF文件