专利数据库
统计分析
产业报告
专利数据监控
产业人才
行业动态
产业政策法规
维权援助
个人中心
详情
文本
图像
标题
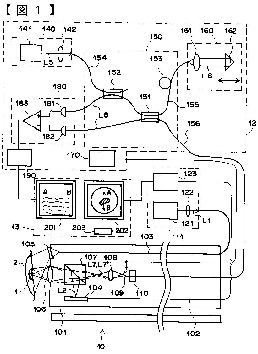
画像化装置
授权日
2006-06-23
公开(公告)号
JP3819273B2
申请日
2001-10-12
公开(公告)日
2006-09-06
当前申请(专利权)人
富士写真フイルム株式会社
发明人
戸井田 昌宏
简单同族
DE60141801D1 | EP1201182A2 | EP1201182A3 | EP1201182B1 | JP2002202253A | JP3819273B2 | US20020051512A1 | US6999608
简单同族成员数量
8
简单同族被引用专利总数
51
诉讼案件数
0
法律状态/事件
未缴年费 | 权利转移
抱歉,您的浏览器不支持PDF预览,请点击链接下载PDF文件