专利数据库
统计分析
产业报告
专利数据监控
产业人才
行业动态
产业政策法规
维权援助
个人中心
详情
文本
图像
标题
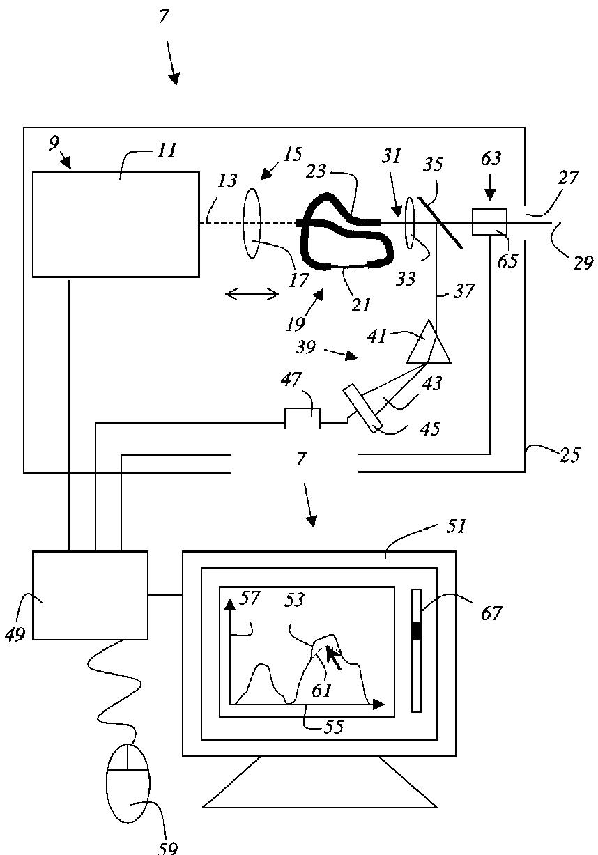
対象物の照明方法および装置
授权日
2012-10-19
公开(公告)号
JP5111480B2
申请日
2009-11-27
公开(公告)日
2013-01-09
当前申请(专利权)人
ライカ マイクロシステムス ツェーエムエス ゲーエムベーハー
发明人
ラファエル シュトルツ | ヨハン エンゲルハルト
简单同族
AT407381T | DE10115486A1 | DE10115487A1 | DE10115488A1 | DE10115509A1 | DE10115577A1 | DE10115589A1 | DE10115590A1 | DE50114274D1 | DE50114275D1 | DE50114278D1 | DE50115456D1 | DE50115464D1 | DK1184701T3 | EP2045641A2 | EP2045641A3 | EP2045642A1 | EP2045643A1 | EP2045643B1 | EP2045643B2 | JP2010102345A | JP5111480B2 | US20090086315A1 | US7679822
简单同族成员数量
24
简单同族被引用专利总数
65
诉讼案件数
0
法律状态/事件
授权
抱歉,您的浏览器不支持PDF预览,请点击链接下载PDF文件