专利数据库
统计分析
产业报告
专利数据监控
产业人才
行业动态
产业政策法规
维权援助
个人中心
详情
文本
图像
标题
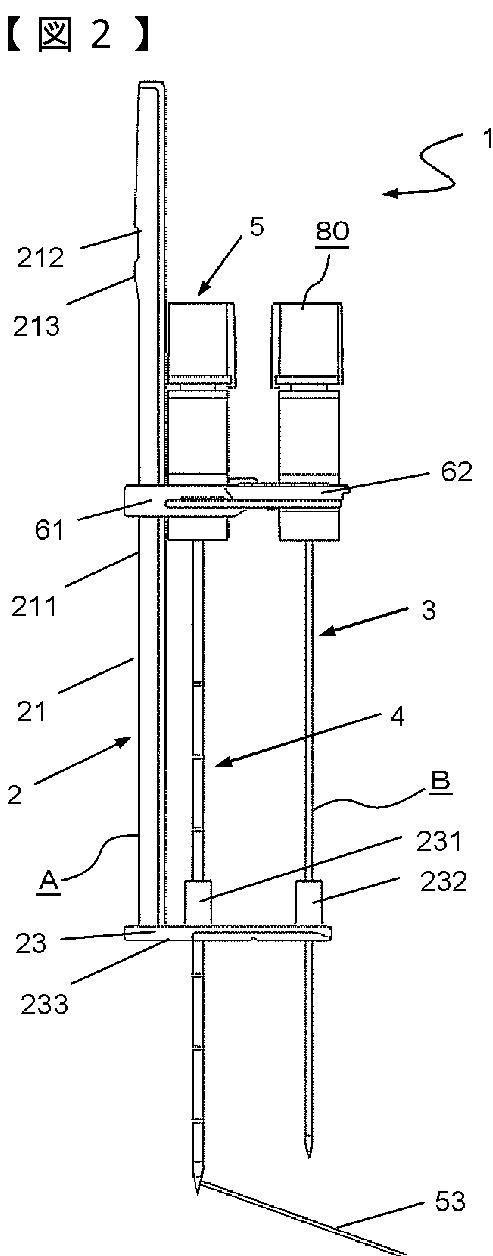
医療用器具および内臓固定方法
授权日
2011-04-01
公开(公告)号
JP4712765B2
申请日
2007-06-18
公开(公告)日
2011-06-29
当前申请(专利权)人
鈴木 裕 | 住友ベークライト株式会社
发明人
鈴木 裕 | 松波 秀明 | 小城 康雅 | 坂口 幸彦 | 池田 昌夫
简单同族
CN101415370A | CN101415370B | EP2005892A2 | EP2005892A4 | EP2005892A9 | JP2007296319A | JP2007296373A | JP4038524B2 | JP4712765B2 | US20090062817A1 | US8277463 | WO2007129431A1
简单同族成员数量
12
简单同族被引用专利总数
60
诉讼案件数
0
法律状态/事件
授权
抱歉,您的浏览器不支持PDF预览,请点击链接下载PDF文件