专利数据库
统计分析
产业报告
专利数据监控
产业人才
行业动态
产业政策法规
维权援助
个人中心
详情
文本
图像
标题
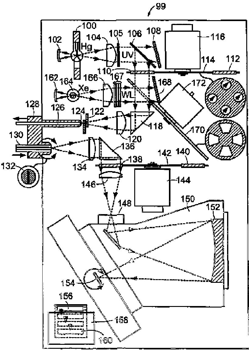
分光診断方法とシステム
授权日
1900-01-01
公开(公告)号
JP2005515473A
申请日
2003-01-17
公开(公告)日
2005-05-26
当前申请(专利权)人
ニユートン·ラボラトリーズ·インコーポレーテツド
发明人
フアルガム,スチーブン·エフ,ジユニア
简单同族
EP1466163A2 | JP2005515473A | JP2005515473A5 | US20030232445A1 | US7404929 | WO2003062799A2 | WO2003062799A3
简单同族成员数量
7
简单同族被引用专利总数
126
诉讼案件数
0
法律状态/事件
驳回
抱歉,您的浏览器不支持PDF预览,请点击链接下载PDF文件