专利数据库
统计分析
产业报告
专利数据监控
产业人才
行业动态
产业政策法规
维权援助
个人中心
详情
文本
图像
标题
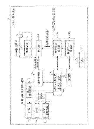
受信装置、送信装置および被検体内情報取得システム
授权日
1900-01-01
公开(公告)号
JP2006346007A
申请日
2005-06-14
公开(公告)日
2006-12-28
当前申请(专利权)人
オリンパス株式会社
发明人
重盛 敏明
简单同族
AU2006257106A1 | AU2006257106B2 | AU2006257106C1 | CN101198276A | CN101198276B | EP1891884A1 | EP1891884A4 | JP2006346007A | JP4472585B2 | US20070252893A1 | US8279274 | WO2006134714A1
简单同族成员数量
12
简单同族被引用专利总数
27
诉讼案件数
0
法律状态/事件
授权 | 权利转移
抱歉,您的浏览器不支持PDF预览,请点击链接下载PDF文件