专利数据库
统计分析
产业报告
专利数据监控
产业人才
行业动态
产业政策法规
维权援助
个人中心
详情
文本
图像
标题
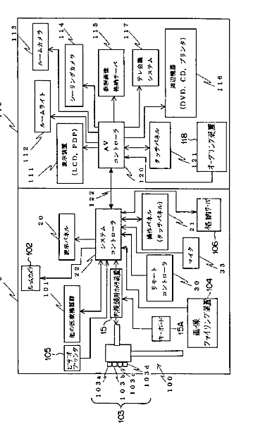
手術機器コントローラ及びそれを用いた手術システム
授权日
1900-01-01
公开(公告)号
JP2006218234A
申请日
2005-02-14
公开(公告)日
2006-08-24
当前申请(专利权)人
オリンパス株式会社
发明人
内久保 明伸 | 田代 浩一 | 中村 剛明
简单同族
JP2006218234A | JP4681908B2 | US20060183972A1 | US7833219
简单同族成员数量
4
简单同族被引用专利总数
24
诉讼案件数
0
法律状态/事件
授权 | 权利转移
抱歉,您的浏览器不支持PDF预览,请点击链接下载PDF文件