专利数据库
统计分析
产业报告
专利数据监控
产业人才
行业动态
产业政策法规
维权援助
个人中心
详情
文本
图像
标题
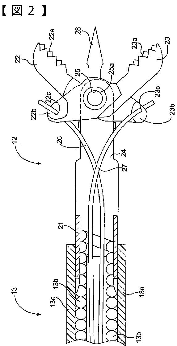
医療器具用Uリンク組立体とその製造方法
授权日
2013-08-16
公开(公告)号
JP5340541B2
申请日
2004-12-09
公开(公告)日
2013-11-13
当前申请(专利权)人
ボストン サイエンティフィック リミテッド
发明人
エンダラ,クリストファー ディー. | アンダーハブ,オット イー.
简单同族
AT424766T | AU2004305507A1 | CA2549187A1 | CA2549187C | DE602004019976D1 | EP1703843A1 | EP1703843B1 | ES2324103T3 | JP2007516030A | JP2007516030A5 | JP5340541B2 | US20050131312A1 | US20090264918A1 | US7534253 | WO2005060834A1
简单同族成员数量
15
简单同族被引用专利总数
21
诉讼案件数
0
法律状态/事件
授权
抱歉,您的浏览器不支持PDF预览,请点击链接下载PDF文件