专利数据库
统计分析
产业报告
专利数据监控
产业人才
行业动态
产业政策法规
维权援助
个人中心
详情
文本
图像
标题
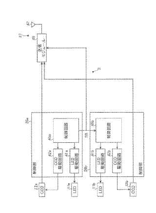
生体内画像取得装置
授权日
1900-01-01
公开(公告)号
JP2007130263A
申请日
2005-11-10
公开(公告)日
2007-05-31
当前申请(专利权)人
オリンパスメディカルシステムズ株式会社
发明人
本多 武道
简单同族
AU2006312639A1 | AU2006312639B2 | CN101296647A | CN101296647B | EP1946695A1 | EP1946695A4 | EP1946695B1 | JP2007130263A | JP2007130263A5 | JP4914600B2 | US20070118017A1 | US7803108 | WO2007055330A1
简单同族成员数量
13
简单同族被引用专利总数
72
诉讼案件数
0
法律状态/事件
未缴年费 | 权利转移
抱歉,您的浏览器不支持PDF预览,请点击链接下载PDF文件