专利数据库
统计分析
产业报告
专利数据监控
产业人才
行业动态
产业政策法规
维权援助
个人中心
详情
文本
图像
标题
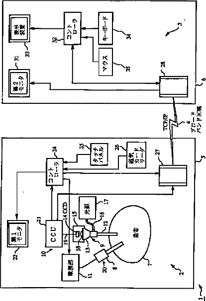
遠隔手術支援システム
授权日
1900-01-01
公开(公告)号
JP2002306509A
申请日
2001-04-10
公开(公告)日
2002-10-22
当前申请(专利权)人
オリンパス光学工業株式会社
发明人
内久保 明伸
简单同族
JP2002306509A | JP2002306509A5 | US20020147384A1 | US20050057496A1 | US6950691 | US7272430
简单同族成员数量
6
简单同族被引用专利总数
128
诉讼案件数
0
法律状态/事件
驳回
抱歉,您的浏览器不支持PDF预览,请点击链接下载PDF文件