专利数据库
统计分析
产业报告
专利数据监控
产业人才
行业动态
产业政策法规
维权援助
个人中心
详情
文本
图像
标题
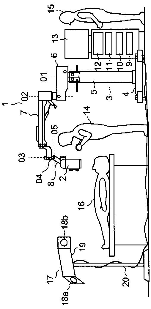
手術用顕微鏡装置
授权日
2011-04-08
公开(公告)号
JP4716545B2
申请日
2000-06-28
公开(公告)日
2011-07-06
当前申请(专利权)人
オリンパス株式会社
发明人
中西 一仁 | 植田 昌章 | 大野 渉 | 中村 元一 | 溝口 正和 | 塩田 敬司 | 絹川 正彦 | 新村 徹
简单同族
JP2002014287A | JP2002014287A5 | JP4716545B2
简单同族成员数量
3
简单同族被引用专利总数
25
诉讼案件数
0
法律状态/事件
未缴年费 | 权利转移
抱歉,您的浏览器不支持PDF预览,请点击链接下载PDF文件