专利数据库
统计分析
产业报告
专利数据监控
产业人才
行业动态
产业政策法规
维权援助
个人中心
详情
文本
图像
标题
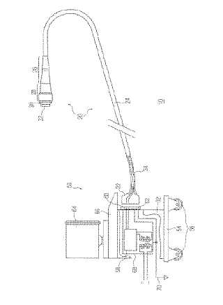
RFI保護された超音波プローブ
授权日
1900-01-01
公开(公告)号
JP2004130137A
申请日
2003-10-08
公开(公告)日
2004-04-30
当前申请(专利权)人
コーニンクレッカ フィリップス エレクトロニクス エヌ ヴィ
发明人
マイケル ユージーン ペジンスキー | デイヴィッド チャン ガーナー | ティモシー ジェイ サヴォード | ロジャー デュガス | ヒューバート イェン
简单同族
JP2004130137A | US20040073118A1 | US6776758
简单同族成员数量
3
简单同族被引用专利总数
75
诉讼案件数
0
法律状态/事件
撤回
抱歉,您的浏览器不支持PDF预览,请点击链接下载PDF文件