专利数据库
统计分析
产业报告
专利数据监控
产业人才
行业动态
产业政策法规
维权援助
个人中心
详情
文本
图像
标题
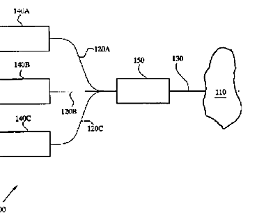
複数レーザ処理装置、結合レーザ処理光線、同時伝送方法、物質への複数レーザ処理光線の同時伝送を管理し、制御するコンピュータプログラム、および多数のレーザ処理プランのデータベース
授权日
1900-01-01
公开(公告)号
JP2005513762A
申请日
2002-12-11
公开(公告)日
2005-05-12
当前申请(专利权)人
リライアント·テクノロジーズ·インコーポレイテッド
发明人
マイケル·ブラック
简单同族
AU2002359687A1 | AU2002359687A8 | EP1461177A2 | JP2005513762A | JP2005513762A5 | US20030109860A1 | WO2003049892A2 | WO2003049892A3
简单同族成员数量
8
简单同族被引用专利总数
226
诉讼案件数
0
法律状态/事件
驳回
抱歉,您的浏览器不支持PDF预览,请点击链接下载PDF文件