专利数据库
统计分析
产业报告
专利数据监控
产业人才
行业动态
产业政策法规
维权援助
个人中心
详情
文本
图像
标题
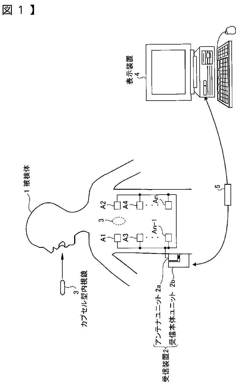
被検体内導入装置
授权日
2012-04-27
公开(公告)号
JP4981316B2
申请日
2005-12-16
公开(公告)日
2012-07-18
当前申请(专利权)人
オリンパスメディカルシステムズ株式会社 | オリンパス株式会社
发明人
藤森 紀幸 | 塩谷 浩一
简单同族
AU2006326007A1 | AU2006326007B2 | CN101330860A | CN101330860B | CN101978929A | EP1961366A1 | EP1961366A4 | JP2007160007A | JP2007160007A5 | JP4981316B2 | US20070171012A1 | US20100121150A1 | US7675394 | US7864007 | WO2007069698A1
简单同族成员数量
15
简单同族被引用专利总数
44
诉讼案件数
0
法律状态/事件
授权 | 权利转移
抱歉,您的浏览器不支持PDF预览,请点击链接下载PDF文件