专利数据库
统计分析
产业报告
专利数据监控
产业人才
行业动态
产业政策法规
维权援助
个人中心
详情
文本
图像
标题
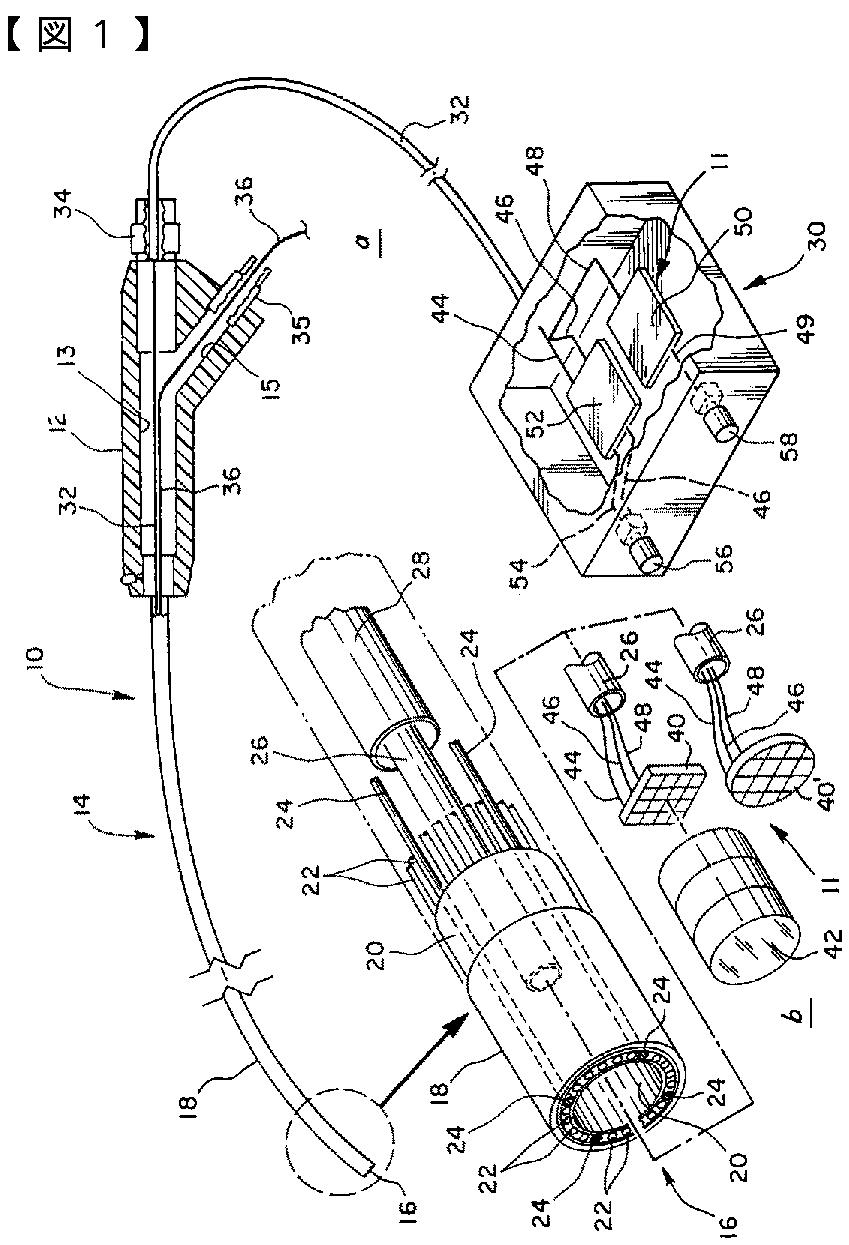
外科用器具の中に収容される画像処理装置
授权日
2010-04-09
公开(公告)号
JP4488172B2
申请日
2004-01-07
公开(公告)日
2010-06-23
当前申请(专利权)人
エドウィン エル アデアー | ジェフリー エル アデアー | ランドール エス アデアー
发明人
エドウィン エル アデアー | ジェフリー エル アデアー | ランドール エス アデアー
简单同族
CA2301714A1 | CA2301714C | DE69830921D1 | DE69830921T2 | EP1029356A1 | EP1029356B1 | EP1575092A2 | EP1575092A3 | EP1575092B1 | JP2001519610A | JP2004188211A | JP3842041B2 | JP4488172B2 | US5986693 | WO1999018613A1
简单同族成员数量
15
简单同族被引用专利总数
303
诉讼案件数
0
法律状态/事件
未缴年费
抱歉,您的浏览器不支持PDF预览,请点击链接下载PDF文件