专利数据库
统计分析
产业报告
专利数据监控
产业人才
行业动态
产业政策法规
维权援助
个人中心
详情
文本
图像
标题
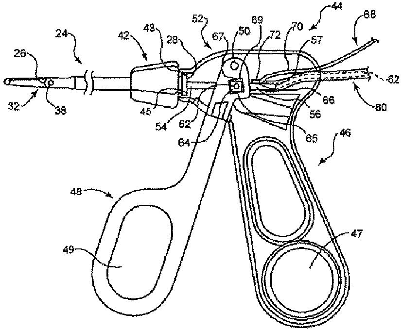
流体補助電気外科手術鋏及び方法
授权日
1900-01-01
公开(公告)号
JP2006504472A
申请日
2003-10-28
公开(公告)日
2006-02-09
当前申请(专利权)人
ティシューリンク·メディカル·インコーポレーテッド
发明人
マイケル·イー·マクラーケン | ロジャー·ディー·グリーリー | ジョン·ダブリュ·ベリー
简单同族
AU2003288945A1 | AU2003288945A8 | EP1572020A2 | EP1572020A4 | JP2006504472A | JP2006504472A5 | US20060235379A1 | US8475455 | WO2004039416A2 | WO2004039416A3
简单同族成员数量
10
简单同族被引用专利总数
69
诉讼案件数
0
法律状态/事件
驳回
抱歉,您的浏览器不支持PDF预览,请点击链接下载PDF文件