专利数据库
统计分析
产业报告
专利数据监控
产业人才
行业动态
产业政策法规
维权援助
个人中心
详情
文本
图像
标题
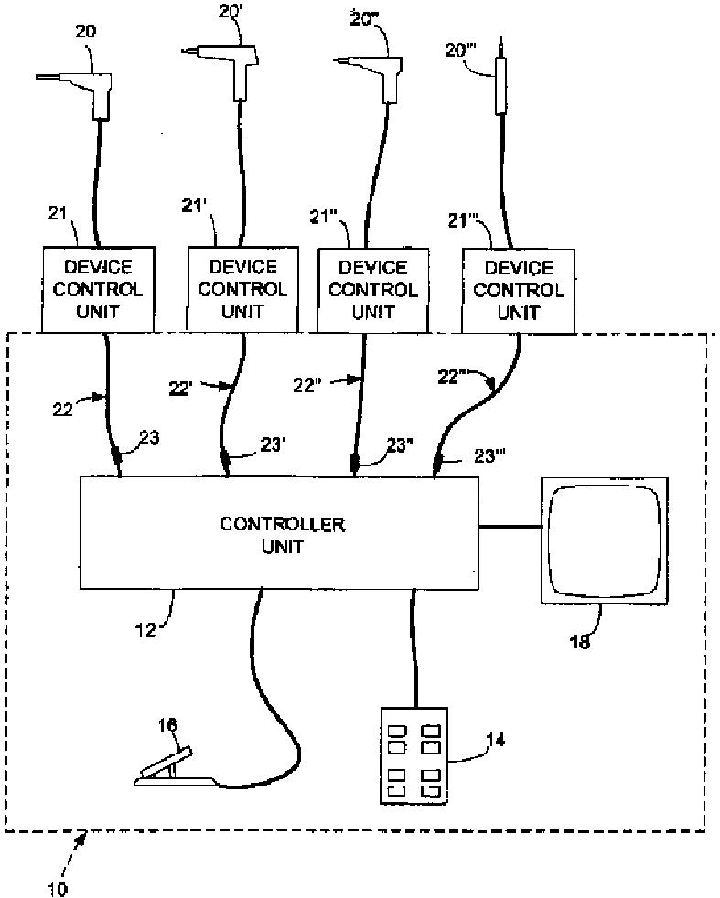
電気外科制御システム
授权日
1900-01-01
公开(公告)号
JP2007509717A
申请日
2004-10-28
公开(公告)日
2007-04-19
当前申请(专利权)人
ザ ユーエービー リサーチ ファウンデーション
发明人
エル-ギャレイ, リズク | アレクサンダー, デイビッド オースティン | ホーン, マリー
简单同族
AU2004285224A1 | CA2543613A1 | EP1677694A2 | EP1677694A4 | EP1677694B1 | JP2007509717A | US20050143724A1 | US20070185480A1 | US7217269 | US8870861 | WO2005043324A2 | WO2005043324A3
简单同族成员数量
12
简单同族被引用专利总数
381
诉讼案件数
0
法律状态/事件
驳回
抱歉,您的浏览器不支持PDF预览,请点击链接下载PDF文件