专利数据库
统计分析
产业报告
专利数据监控
产业人才
行业动态
产业政策法规
维权援助
个人中心
详情
文本
图像
标题
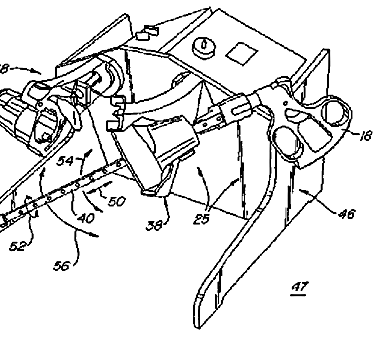
ケーブル駆動による力フィードバックを有するインタフェース装置及び4個の接地されたアクチュエータ
授权日
1900-01-01
公开(公告)号
JP2004535870A
申请日
2002-07-16
公开(公告)日
2004-12-02
当前申请(专利权)人
イマージョン コーポレーション
发明人
グレゴリオ·ぺドロ | オリエン·ニール·ティー | ベーリー·デビッド·ダブリュー | バサロ·スティーブン·ピー
简单同族
AT489662T | CN100415177C | CN1531670A | DE60238411D1 | EP1417547A1 | EP1417547A4 | EP1417547B1 | JP2004535870A | JP4366185B2 | KR101009865B1 | KR101154809B1 | KR1020040018465A | KR1020100060009A | US20030068607A1 | US20060099560A1 | US20090009492A1 | US7056123 | US7404716 | US8007282 | WO2003009069A1 | WO2003009069A8
简单同族成员数量
21
简单同族被引用专利总数
189
诉讼案件数
0
法律状态/事件
授权
抱歉,您的浏览器不支持PDF预览,请点击链接下载PDF文件