专利数据库
统计分析
产业报告
专利数据监控
产业人才
行业动态
产业政策法规
维权援助
个人中心
详情
文本
图像
标题
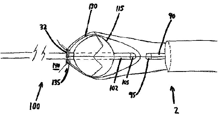
組織の結紮のための装置及び方法
授权日
1900-01-01
公开(公告)号
JP2007534355A
申请日
2004-10-11
公开(公告)日
2007-11-29
当前申请(专利权)人
センターハート·インコーポレイテッド
发明人
ジョン·アール·リディコート | ウィリアム·イー·コーン | ロジャー·ラハム
简单同族
EP1682034A2 | EP1682034A4 | EP1682034B1 | ES2700851T3 | HK1094145A | HK1094145A1 | JP2007534355A | JP2007534355A5 | JP5074765B2 | US10327780 | US20050154404A1 | US20070073313A1 | US20080147097A1 | US20080221593A1 | US20160235412A1 | US20170290591A1 | US20190290285A1 | US7828810 | US7846168 | US8795297 | US9271819 | WO2005034802A2 | WO2005034802A3
简单同族成员数量
23
简单同族被引用专利总数
106
诉讼案件数
0
法律状态/事件
授权
抱歉,您的浏览器不支持PDF预览,请点击链接下载PDF文件