专利数据库
统计分析
产业报告
专利数据监控
产业人才
行业动态
产业政策法规
维权援助
个人中心
详情
文本
图像
标题
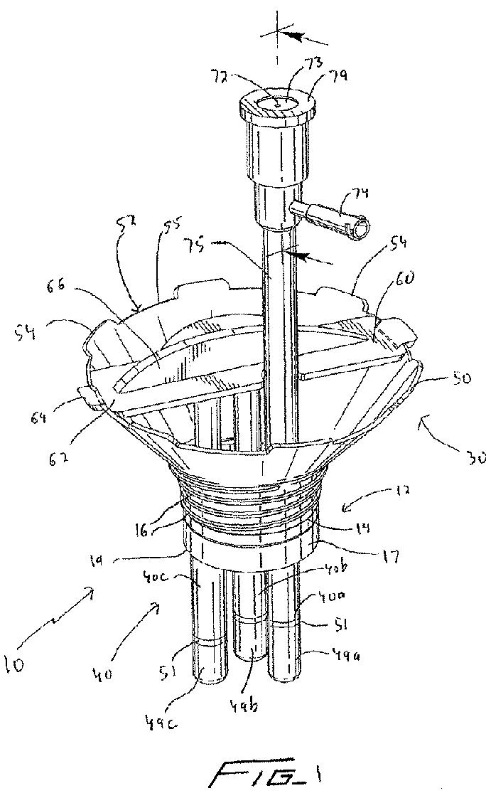
手術用ポートアセンブリ
授权日
1900-01-01
公开(公告)号
JP2010088874A
申请日
2009-09-10
公开(公告)日
2010-04-22
当前申请(专利权)人
コヴィディエン リミテッド パートナーシップ
发明人
グレゴリー ピスカン | オレグ シクマン | クリストファー バトルズ | パトリック エヌ. ガテリウス | マーク ジェイ. デビスチョップ | ジェフリー エイチ. マクドナルド | フランク レンデ | マイケル アブラムズ | アナトリー コニク | ダン ロッテンバーグ
简单同族
AU2009213044A1 | AU2009213044B2 | CA2678374A1 | EP2163217A2 | EP2163217A3 | JP2010088874A | JP5520551B2 | US20100113886A1 | US20150148613A1 | US8961407 | US9492195
简单同族成员数量
11
简单同族被引用专利总数
104
诉讼案件数
0
法律状态/事件
未缴年费
抱歉,您的浏览器不支持PDF预览,请点击链接下载PDF文件