专利数据库
统计分析
产业报告
专利数据监控
产业人才
行业动态
产业政策法规
维权援助
个人中心
详情
文本
图像
标题
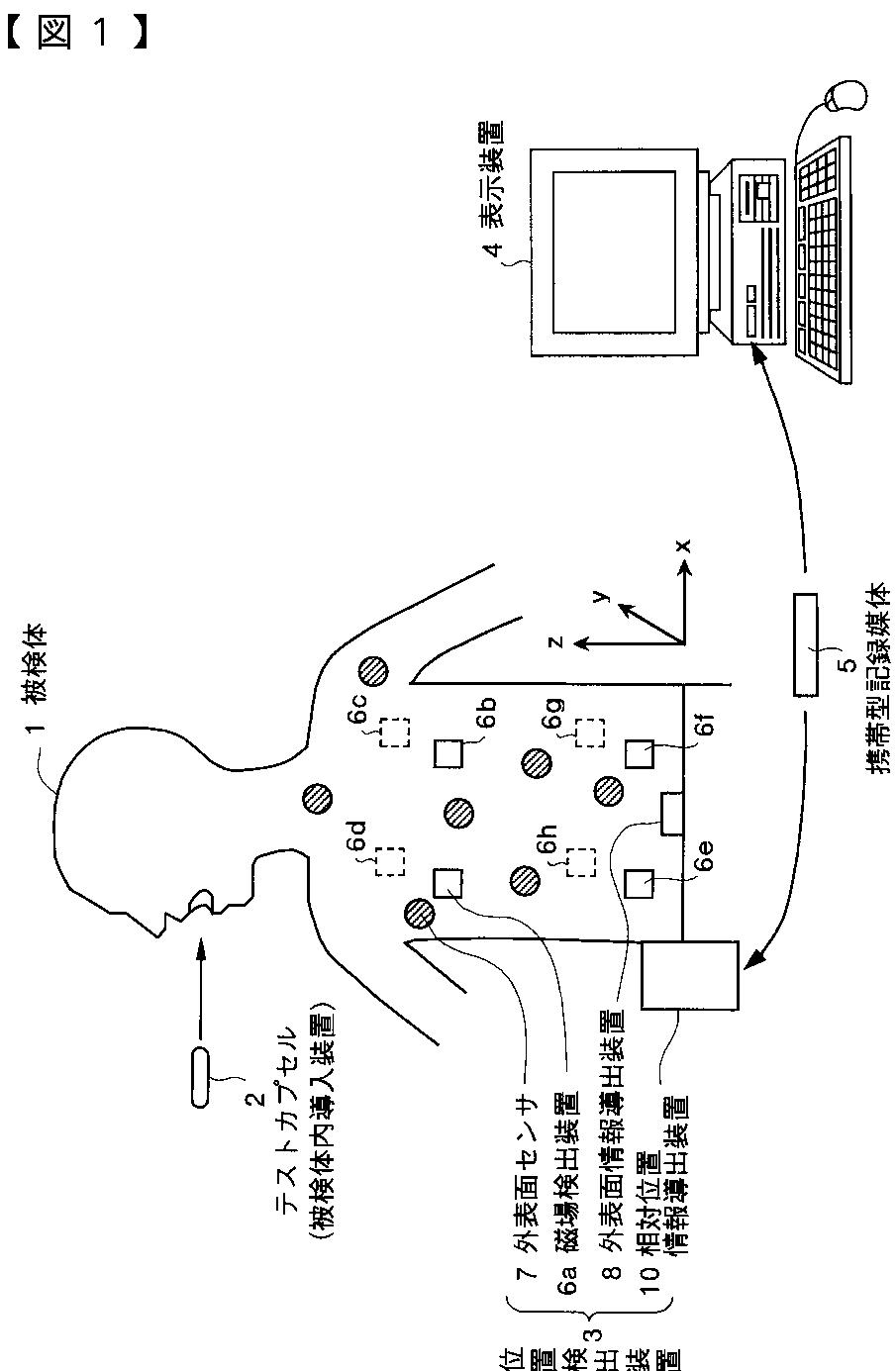
被検体内位置表示システム
授权日
2010-05-28
公开(公告)号
JP4520198B2
申请日
2004-04-07
公开(公告)日
2010-08-04
当前申请(专利权)人
オリンパス株式会社
发明人
鈴木 克哉 | 笹川 克義 | 本多 武道 | 平川 克己 | 木許 誠一郎 | 永瀬 綾子 | 中土 一孝
简单同族
CN100353916C | CN1679444A | JP2005296112A | JP2005296112A5 | JP4520198B2 | US20070002038A1 | US7603160
简单同族成员数量
7
简单同族被引用专利总数
137
诉讼案件数
0
法律状态/事件
未缴年费 | 权利转移
抱歉,您的浏览器不支持PDF预览,请点击链接下载PDF文件