专利数据库
统计分析
产业报告
专利数据监控
产业人才
行业动态
产业政策法规
维权援助
个人中心
详情
文本
图像
标题
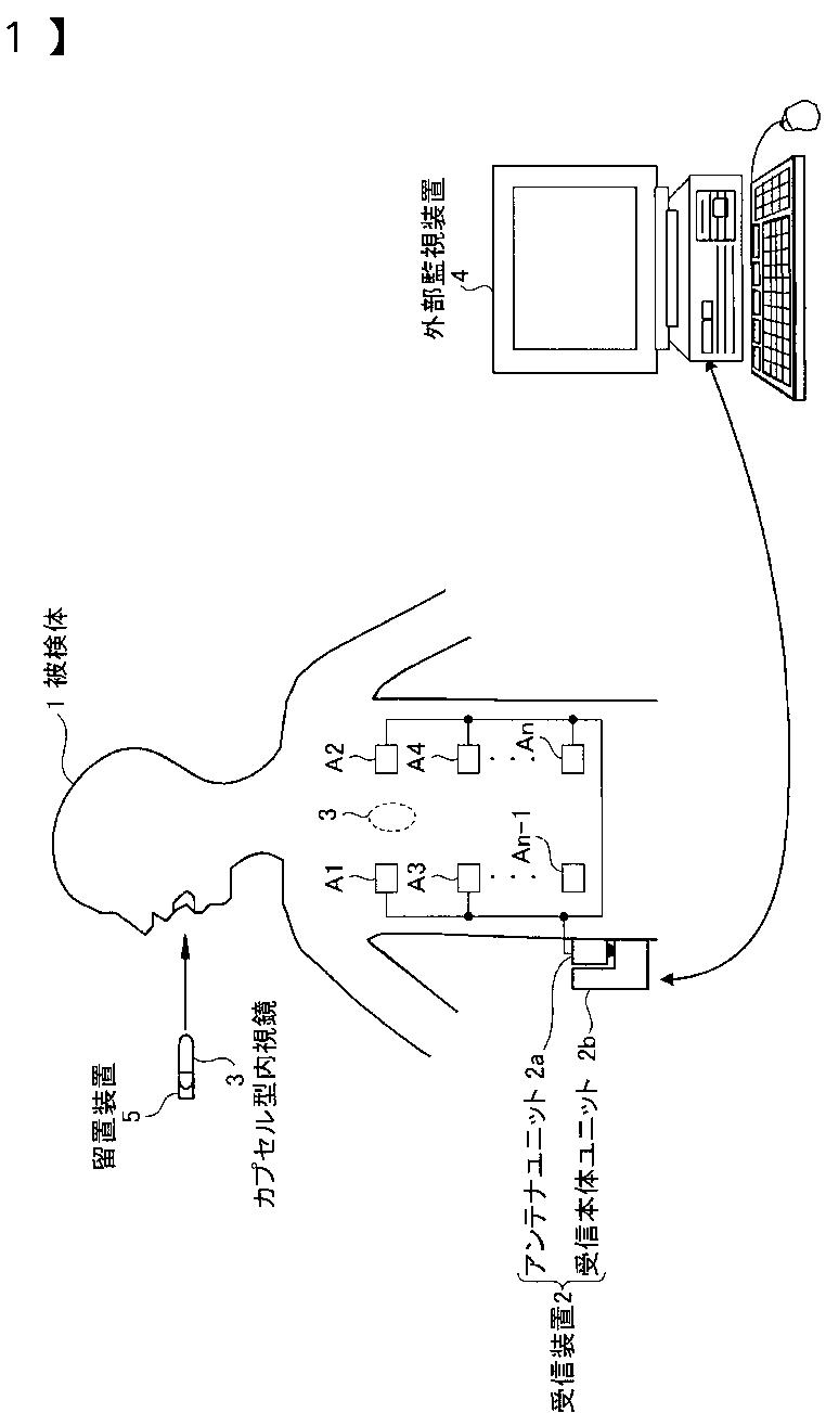
生体内情報取得装置留置システム
授权日
2011-10-07
公开(公告)号
JP4839034B2
申请日
2005-07-20
公开(公告)日
2011-12-14
当前申请(专利权)人
オリンパス株式会社 | オリンパスメディカルシステムズ株式会社
发明人
内山 昭夫 | 瀧澤 寛伸 | 田中 慎介 | 平川 克己 | 横井 武司
简单同族
CN100592891C | CN101203169A | JP2007021039A | JP2007021039A5 | JP4839034B2
简单同族成员数量
5
简单同族被引用专利总数
23
诉讼案件数
0
法律状态/事件
未缴年费 | 权利转移
抱歉,您的浏览器不支持PDF预览,请点击链接下载PDF文件