专利数据库
统计分析
产业报告
专利数据监控
产业人才
行业动态
产业政策法规
维权援助
个人中心
详情
文本
图像
标题
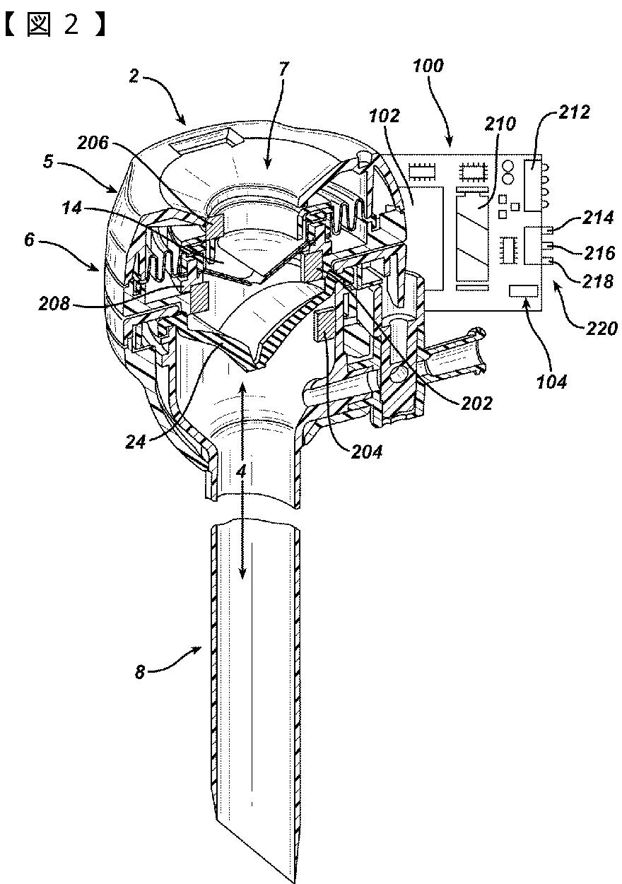
振動性トロカール
授权日
2013-11-01
公开(公告)号
JP5399128B2
申请日
2009-05-07
公开(公告)日
2014-01-29
当前申请(专利权)人
エシコン·エンド-サージェリィ·インコーポレイテッド
发明人
ダニエル·エイチ·デューク
简单同族
CA2665418A1 | EP2116201A1 | EP2116201B1 | JP2009273883A | JP5399128B2 | US20090281478A1 | US7981092
简单同族成员数量
7
简单同族被引用专利总数
99
诉讼案件数
0
法律状态/事件
授权
抱歉,您的浏览器不支持PDF预览,请点击链接下载PDF文件