专利数据库
统计分析
产业报告
专利数据监控
产业人才
行业动态
产业政策法规
维权援助
个人中心
详情
文本
图像
标题
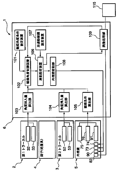
治療システム及びトラカール並びに治療システムの制御方法
授权日
1900-01-01
公开(公告)号
JP2007301378A
申请日
2007-05-11
公开(公告)日
2007-11-22
当前申请(专利权)人
オリンパスメディカルシステムズ株式会社
发明人
出島 工 | 宮本 学 | 松野 清孝 | 箕澤 領
简单同族
DE602007002740D1 | EP1854420A1 | EP1854420B1 | JP2007301378A | US20070265502A1 | US7841980
简单同族成员数量
6
简单同族被引用专利总数
211
诉讼案件数
0
法律状态/事件
驳回
抱歉,您的浏览器不支持PDF预览,请点击链接下载PDF文件