专利数据库
统计分析
产业报告
专利数据监控
产业人才
行业动态
产业政策法规
维权援助
个人中心
详情
文本
图像
标题
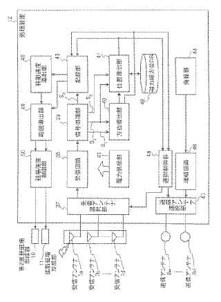
位置検出装置および被検体内導入システム
授权日
1900-01-01
公开(公告)号
JP2006061624A
申请日
2004-08-30
公开(公告)日
2006-03-09
当前申请(专利权)人
オリンパス株式会社
发明人
薬袋 哲夫
简单同族
CN101010026A | CN101010026B | JP2006061624A | JP4554301B2
简单同族成员数量
4
简单同族被引用专利总数
24
诉讼案件数
0
法律状态/事件
未缴年费
抱歉,您的浏览器不支持PDF预览,请点击链接下载PDF文件