专利数据库
统计分析
产业报告
专利数据监控
产业人才
行业动态
产业政策法规
维权援助
个人中心
详情
文本
图像
标题
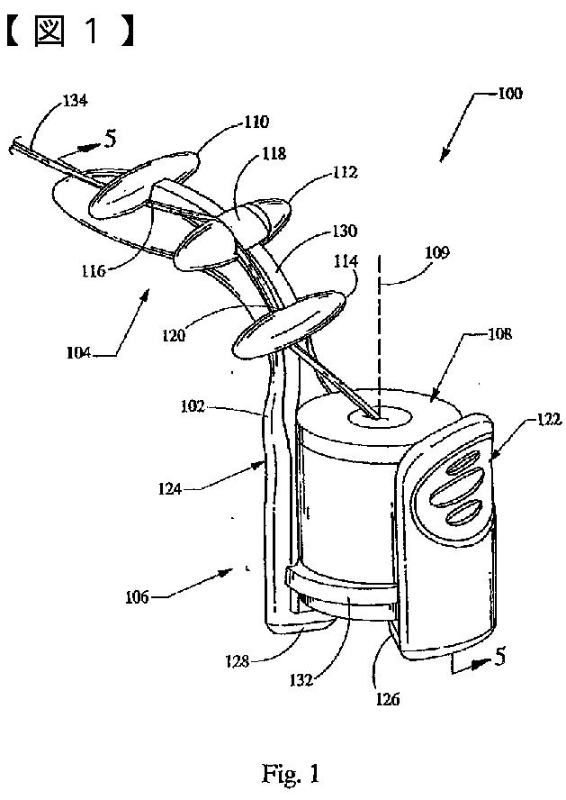
ワイヤガイド偏向器付きワイヤガイドホルダ
授权日
2013-04-05
公开(公告)号
JP5236295B2
申请日
2006-02-06
公开(公告)日
2013-07-17
当前申请(专利权)人
クック メディカル テクノロジーズ エルエルシー
发明人
ラッカー, ブライアン ケー. | ケネディ, ケネス,シー. セカンド | ウァラー, デイビッド エフ.
简单同族
AU2006335685A1 | AU2006335685A8 | AU2006335685B2 | AU2006335685B9 | CA2597424A1 | CA2597424C | EP1853341A2 | JP2008529723A | JP2008529723A5 | JP5236295B2 | US20060195117A1 | WO2007086876A2 | WO2007086876A3
简单同族成员数量
13
简单同族被引用专利总数
61
诉讼案件数
0
法律状态/事件
授权 | 权利转移
抱歉,您的浏览器不支持PDF预览,请点击链接下载PDF文件