专利数据库
统计分析
产业报告
专利数据监控
产业人才
行业动态
产业政策法规
维权援助
个人中心
详情
文本
图像
标题
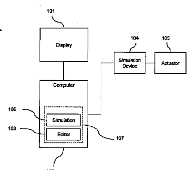
シミュレーション用の物理システムのモデルを編集するためのシステムおよび方法
授权日
1900-01-01
公开(公告)号
JP2009515602A
申请日
2006-11-14
公开(公告)日
2009-04-16
当前申请(专利权)人
イマージョン コーポレイション
发明人
コナシェル、 ヒュー | フォーク、 ロバート ビー. | イキッツ、 ミラン | ディクッチオ、 マイケル | ネルソン、 ドナルド ディ. | アドハミ、 ローアイ | ポナンペルマ、 イヤンカ | ジョシ、 ダーナンジャイ | グルニエ、 ライオネル
简单同族
CN101310249A | CN101310249B | CN102662597A | CN102662597B | EP1952226A2 | JP2009515602A | JP2012230394A | JP5269604B2 | JP5604476B2 | US20070124128A1 | US8639485 | WO2007059172A2 | WO2007059172A3
简单同族成员数量
13
简单同族被引用专利总数
66
诉讼案件数
0
法律状态/事件
授权 | 权利转移
抱歉,您的浏览器不支持PDF预览,请点击链接下载PDF文件