专利数据库
统计分析
产业报告
专利数据监控
产业人才
行业动态
产业政策法规
维权援助
个人中心
详情
文本
图像
标题
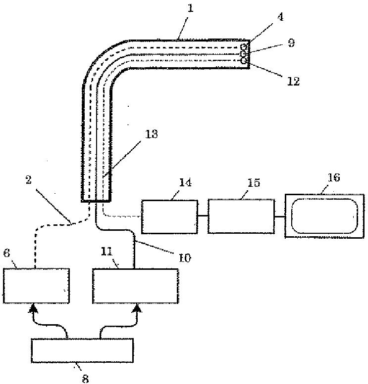
高強度パルス光を利用した血管内診断または治療用装置
授权日
1900-01-01
公开(公告)号
JPWO2005063113A1
申请日
2004-05-06
公开(公告)日
2007-07-19
当前申请(专利权)人
学校法人慶應義塾
发明人
荒井 恒憲 | 須賀 絵里子 | 山下 恵理香 | 二見 光
简单同族
EP1637061A1 | EP1637061A4 | JP4496344B2 | JPWO2005063113A1 | US20080221560A1 | US8657811 | WO2005063113A1
简单同族成员数量
7
简单同族被引用专利总数
56
诉讼案件数
0
法律状态/事件
授权
抱歉,您的浏览器不支持PDF预览,请点击链接下载PDF文件