专利数据库
统计分析
产业报告
专利数据监控
产业人才
行业动态
产业政策法规
维权援助
个人中心
详情
文本
图像
标题
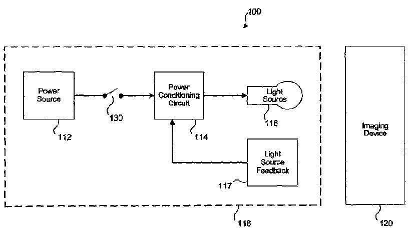
携帯バッテリー動作の光源に給電するための装置および方法
授权日
1900-01-01
公开(公告)号
JP2005520309A
申请日
2003-04-10
公开(公告)日
2005-07-07
当前申请(专利权)人
カール シュトルツ エンドスコピー-アメリカ インコーポレーテッド
发明人
サイモン·ソリンジェン
简单同族
AU2003239135A1 | AU2003239135A8 | CA2482451A1 | CA2482451C | EP1492441A2 | EP1492441A4 | EP1492441B1 | JP2005520309A | US20030193314A1 | US6809499 | WO2003087653A2 | WO2003087653A3
简单同族成员数量
12
简单同族被引用专利总数
89
诉讼案件数
0
法律状态/事件
驳回
抱歉,您的浏览器不支持PDF预览,请点击链接下载PDF文件