专利数据库
统计分析
产业报告
专利数据监控
产业人才
行业动态
产业政策法规
维权援助
个人中心
详情
文本
图像
标题
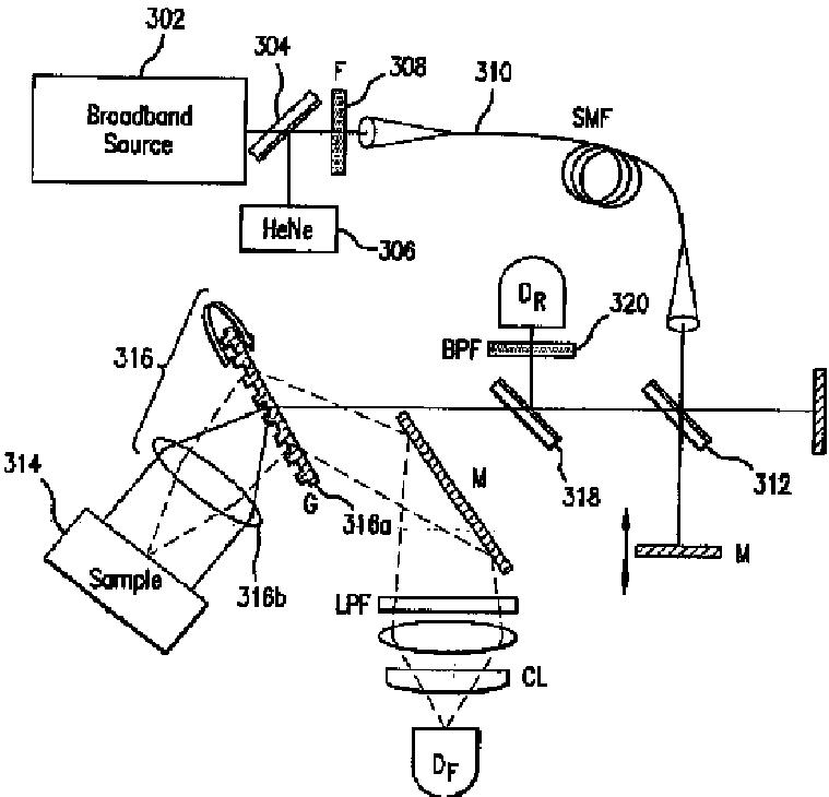
スペクトル及び周波数符号化蛍光画像形成
授权日
1900-01-01
公开(公告)号
JP2009511921A
申请日
2006-10-13
公开(公告)日
2009-03-19
当前申请(专利权)人
ザ ジェネラル ホスピタル コーポレイション
发明人
ティーニー ギレルモ ジェイ. | イェリン デビール | ヴァコック ベンジャミン ジェイ. | ボウマ ブレット イー. | モッツ ジェイソン ティー.
简单同族
EP1945094A1 | EP1945094B1 | JP2009511921A | JP2009511921A5 | JP5203951B2 | US20070087445A1 | US7889348 | WO2007047690A1
简单同族成员数量
8
简单同族被引用专利总数
158
诉讼案件数
0
法律状态/事件
授权
抱歉,您的浏览器不支持PDF预览,请点击链接下载PDF文件