专利数据库
统计分析
产业报告
专利数据监控
产业人才
行业动态
产业政策法规
维权援助
个人中心
详情
文本
图像
标题
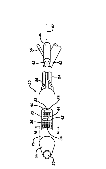
導電性組織ストッパーを備えた内視鏡的粘膜切除装置及びその使用方法
授权日
1900-01-01
公开(公告)号
JP2005103270A
申请日
2004-09-28
公开(公告)日
2005-04-21
当前申请(专利权)人
エシコン·エンド-サージェリィ·インコーポレイテッド
发明人
ルドルフ·ノビス | マイケル·クレム | クリストファー·ジェイ·ヘス
简单同族
AU2004214625A1 | CA2482739A1 | CA2482739C | CN100444804C | CN1602812A | DE602004015690D1 | EP1518499A1 | EP1518499B1 | JP2005103270A | JP4509722B2 | KR101045494B1 | KR1020050031447A | US20050070889A1 | US6994705
简单同族成员数量
14
简单同族被引用专利总数
184
诉讼案件数
0
法律状态/事件
授权
抱歉,您的浏览器不支持PDF预览,请点击链接下载PDF文件