专利数据库
统计分析
产业报告
专利数据监控
产业人才
行业动态
产业政策法规
维权援助
个人中心
详情
文本
图像
标题
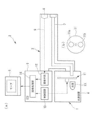
生体観察装置および内視鏡装置
授权日
1900-01-01
公开(公告)号
JP2009153621A
申请日
2007-12-25
公开(公告)日
2009-07-16
当前申请(专利权)人
オリンパス株式会社
发明人
藤沼 賢 | 渡邉 武史
简单同族
EP2223646A1 | EP2223646A4 | JP2009153621A | US20100168584A1 | WO2009081706A1
简单同族成员数量
5
简单同族被引用专利总数
28
诉讼案件数
0
法律状态/事件
撤回
抱歉,您的浏览器不支持PDF预览,请点击链接下载PDF文件