专利数据库
统计分析
产业报告
专利数据监控
产业人才
行业动态
产业政策法规
维权援助
个人中心
详情
文本
图像
标题
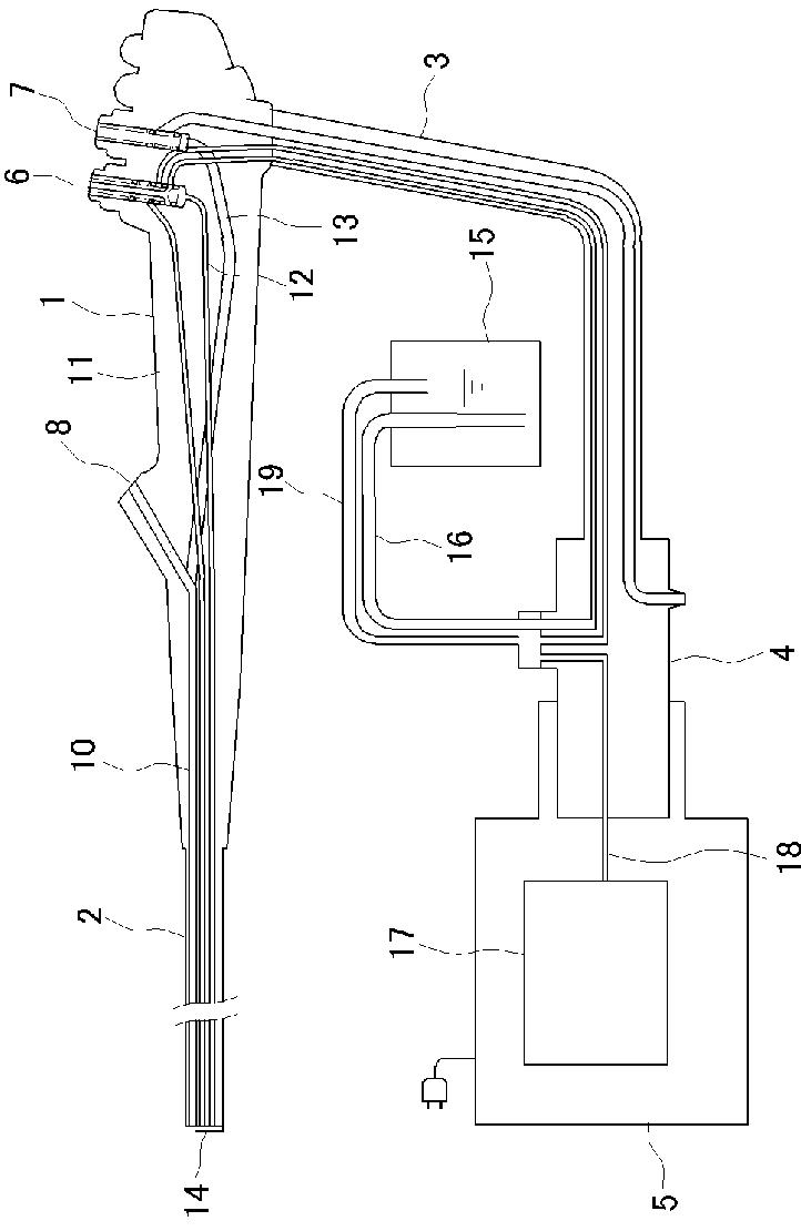
洗浄アダプタ
授权日
2011-01-14
公开(公告)号
JP4661190B2
申请日
2004-11-30
公开(公告)日
2011-03-30
当前申请(专利权)人
富士フイルム株式会社
发明人
山▲崎▼ 正幸
简单同族
JP2006149736A | JP4661190B2 | US20060135851A1 | US7901350
简单同族成员数量
4
简单同族被引用专利总数
41
诉讼案件数
0
法律状态/事件
未缴年费 | 权利转移
抱歉,您的浏览器不支持PDF预览,请点击链接下载PDF文件