专利数据库
统计分析
产业报告
专利数据监控
产业人才
行业动态
产业政策法规
维权援助
个人中心
详情
文本
图像
标题
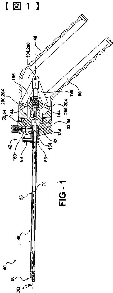
内視鏡手術又は関節鏡手術を行う鉗子
授权日
2012-04-06
公开(公告)号
JP4966296B2
申请日
2006-04-28
公开(公告)日
2012-07-04
当前申请(专利权)人
ボヴィー メディカル コーポレイション
发明人
リヴニー スティーヴ
简单同族
AT526890T | CN101193600A | CN101193600B | EP1876979A2 | EP1876979B1 | JP2008539815A | JP4966296B2 | US20060259070A1 | US20110087268A1 | US7871423 | WO2006119139A2 | WO2006119139A3
简单同族成员数量
12
简单同族被引用专利总数
219
诉讼案件数
0
法律状态/事件
未缴年费 | 权利转移
抱歉,您的浏览器不支持PDF预览,请点击链接下载PDF文件