专利数据库
统计分析
产业报告
专利数据监控
产业人才
行业动态
产业政策法规
维权援助
个人中心
详情
文本
图像
标题
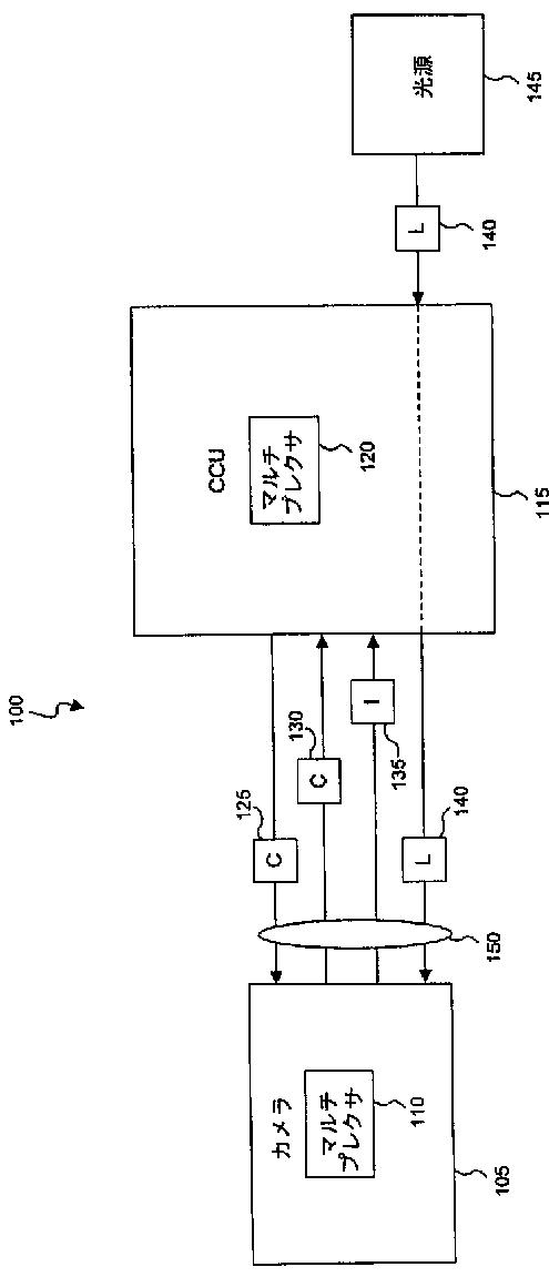
統合された電気光学ケーブルを備えたアップグレード可能な内視鏡ビデオ撮像システム
授权日
1900-01-01
公开(公告)号
JP2006218292A
申请日
2006-01-10
公开(公告)日
2006-08-24
当前申请(专利权)人
カール·ストーツ·イメージング·インコーポレイテッド
发明人
マーク·アール·アムリング | デーヴィッド·チェイトネヴァー | ブルース·エル·ケネディ | ベリー·エー·マーラー
简单同族
CA2532526A1 | CA2532526C | EP1679030A1 | EP1679030B1 | JP2006218292A | JP2011136179A | JP4727428B2 | JP5404665B2 | US20050200698A1 | US7520853
简单同族成员数量
10
简单同族被引用专利总数
81
诉讼案件数
0
法律状态/事件
授权
抱歉,您的浏览器不支持PDF预览,请点击链接下载PDF文件