专利数据库
统计分析
产业报告
专利数据监控
产业人才
行业动态
产业政策法规
维权援助
个人中心
详情
文本
图像
标题
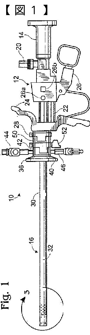
内視鏡用流出システム
授权日
2009-04-10
公开(公告)号
JP4290013B2
申请日
2003-01-06
公开(公告)日
2009-07-01
当前申请(专利权)人
ジャイラス エーシーエムアイ インク
发明人
ミューラー リチャード
简单同族
AU2003235740A1 | EP1469771A1 | EP1469771A4 | JP2005525144A | JP4290013B2 | US20030130565A1 | US6712759 | WO2003057020A1
简单同族成员数量
8
简单同族被引用专利总数
97
诉讼案件数
0
法律状态/事件
未缴年费 | 权利转移
抱歉,您的浏览器不支持PDF预览,请点击链接下载PDF文件