专利数据库
统计分析
产业报告
专利数据监控
产业人才
行业动态
产业政策法规
维权援助
个人中心
详情
文本
图像
标题
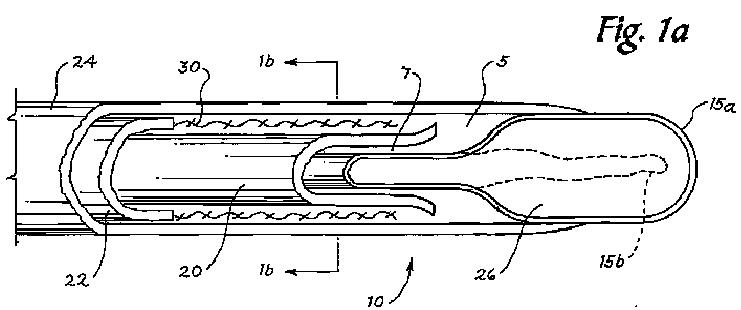
先端にバルーンを備えた内視鏡装置
授权日
1900-01-01
公开(公告)号
JP2012513869A
申请日
2009-12-18
公开(公告)日
2012-06-21
当前申请(专利权)人
クック メディカル テクノロジーズ エルエルシー
发明人
ドゥシャーム, リチャード, ダブリュー. | マクローホーン, タイラー, イー.
简单同族
AU2009333114A1 | AU2009333114B2 | CA2748504A1 | CA2748504C | EP2382001A1 | EP2382001B1 | JP2012513869A | JP2012513869A5 | JP5400897B2 | US20100168612A1 | US8419677 | WO2010078077A1
简单同族成员数量
12
简单同族被引用专利总数
32
诉讼案件数
0
法律状态/事件
授权
抱歉,您的浏览器不支持PDF预览,请点击链接下载PDF文件