专利数据库
统计分析
产业报告
专利数据监控
产业人才
行业动态
产业政策法规
维权援助
个人中心
详情
文本
图像
标题
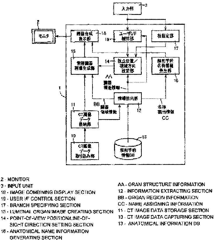
医療画像観察支援装置
授权日
1900-01-01
公开(公告)号
JPWO2007129493A1
申请日
2007-02-17
公开(公告)日
2009-09-17
当前申请(专利权)人
国立大学法人名古屋大学
发明人
森 健策 | 北坂 孝幸 | 出口 大輔
简单同族
JP4899068B2 | JPWO2007129493A1 | US20090161927A1 | US8199984 | WO2007129493A1
简单同族成员数量
5
简单同族被引用专利总数
143
诉讼案件数
0
法律状态/事件
授权
抱歉,您的浏览器不支持PDF预览,请点击链接下载PDF文件