专利数据库
统计分析
产业报告
专利数据监控
产业人才
行业动态
产业政策法规
维权援助
个人中心
详情
文本
图像
标题
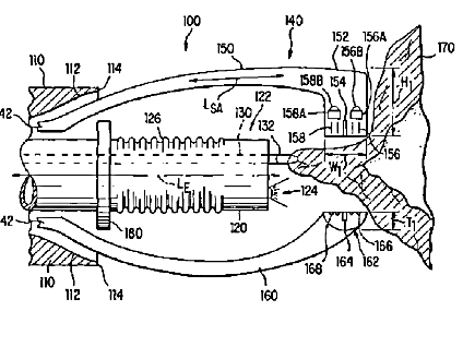
器官の全厚切除装置
授权日
1900-01-01
公开(公告)号
JP2004503325A
申请日
2001-07-16
公开(公告)日
2004-02-05
当前申请(专利权)人
ボストン サイエンティフィック リミテッド
发明人
アダムス、ロナルド ディー. | スリバン、ロイ エイチ.ザ サード | ブエス、ゲルハルト エフ. | シュール、マルク オー.
简单同族
AU2001278916A1 | CA2415675A1 | CA2415675C | DE60125771D1 | DE60125771T2 | EP1301128A2 | EP1301128B1 | JP2004503325A | JP4921682B2 | US20040059346A1 | US6544271 | US8663241 | WO2002005721A2 | WO2002005721A3 | WO2002005721A9
简单同族成员数量
15
简单同族被引用专利总数
210
诉讼案件数
0
法律状态/事件
授权 | 权利转移
抱歉,您的浏览器不支持PDF预览,请点击链接下载PDF文件