专利数据库
统计分析
产业报告
专利数据监控
产业人才
行业动态
产业政策法规
维权援助
个人中心
详情
文本
图像
标题
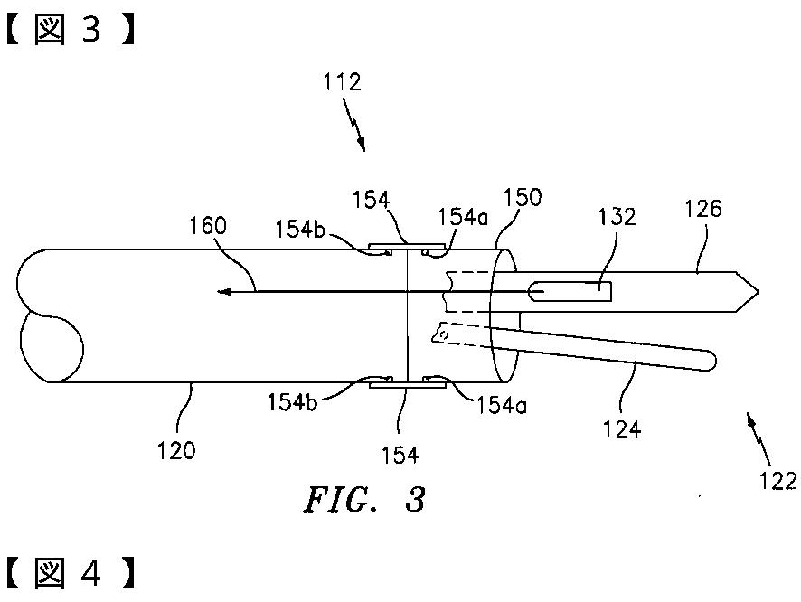
超音波手術器具
授权日
2012-01-06
公开(公告)号
JP4896056B2
申请日
2008-03-25
公开(公告)日
2012-03-14
当前申请(专利权)人
タイコ ヘルスケア グループ リミテッド パートナーシップ | ウィスコンシン アルムニ リサーチ ファウンデーション (ワーフ)
发明人
アーネスト アランイ | ダグラス ジェイ. クーニー | ラッセル ハインリッヒ | アミット ラル | ビル ルイス | フィル ロイ
简单同族
AU2002244082A1 | AU2002244082B2 | AU2006220448A1 | AU2006220448B2 | CA2437582A1 | CA2437582C | DE60230533D1 | DE60236701D1 | EP1435852A1 | EP1435852B1 | EP2000106A1 | EP2000106B1 | EP2221011A2 | EP2221011A3 | EP2221011B1 | EP2221011B8 | ES2317994T3 | ES2346720T3 | ES2373782T3 | JP2004522523A | JP2008212693A | JP2012005851A | JP4152188B2 | JP4896056B2 | US10022142 | US20160113672A1 | WO2002062241A1
简单同族成员数量
27
简单同族被引用专利总数
172
诉讼案件数
0
法律状态/事件
未缴年费
抱歉,您的浏览器不支持PDF预览,请点击链接下载PDF文件