专利数据库
统计分析
产业报告
专利数据监控
产业人才
行业动态
产业政策法规
维权援助
个人中心
详情
文本
图像
标题
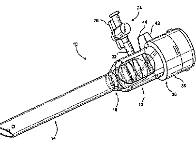
トロカールアセンブリ
授权日
1900-01-01
公开(公告)号
JP2004509660A
申请日
2001-05-30
公开(公告)日
2004-04-02
当前申请(专利权)人
タウト インコーポレイテッド
发明人
リチャード エイチ マクファーレン
简单同族
AU2001275021A1 | CA2410677A1 | CA2410677C | CN1222250C | CN1440300A | DE60141776D1 | EP1418963A1 | EP1418963A4 | EP1418963B1 | JP2004509660A | JP4119127B2 | US20020019609A1 | US6692467 | WO2001091834A1 | WO2001091834A8
简单同族成员数量
15
简单同族被引用专利总数
90
诉讼案件数
0
法律状态/事件
授权
抱歉,您的浏览器不支持PDF预览,请点击链接下载PDF文件