专利数据库
统计分析
产业报告
专利数据监控
产业人才
行业动态
产业政策法规
维权援助
个人中心
详情
文本
图像
标题
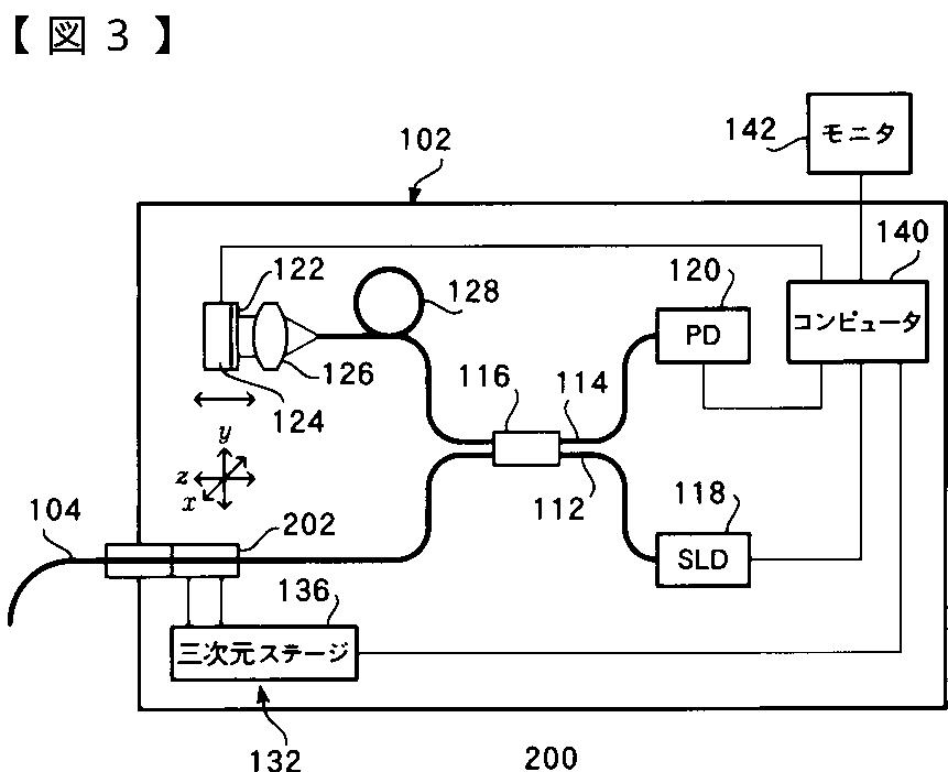
診断光照射装置
授权日
2009-09-11
公开(公告)号
JP4373651B2
申请日
2002-09-03
公开(公告)日
2009-11-25
当前申请(专利权)人
HOYA株式会社
发明人
中村 哲也
简单同族
JP2004089552A | JP4373651B2
简单同族成员数量
2
简单同族被引用专利总数
35
诉讼案件数
0
法律状态/事件
未缴年费 | 权利转移
抱歉,您的浏览器不支持PDF预览,请点击链接下载PDF文件