专利数据库
统计分析
产业报告
专利数据监控
产业人才
行业动态
产业政策法规
维权援助
个人中心
详情
文本
图像
标题
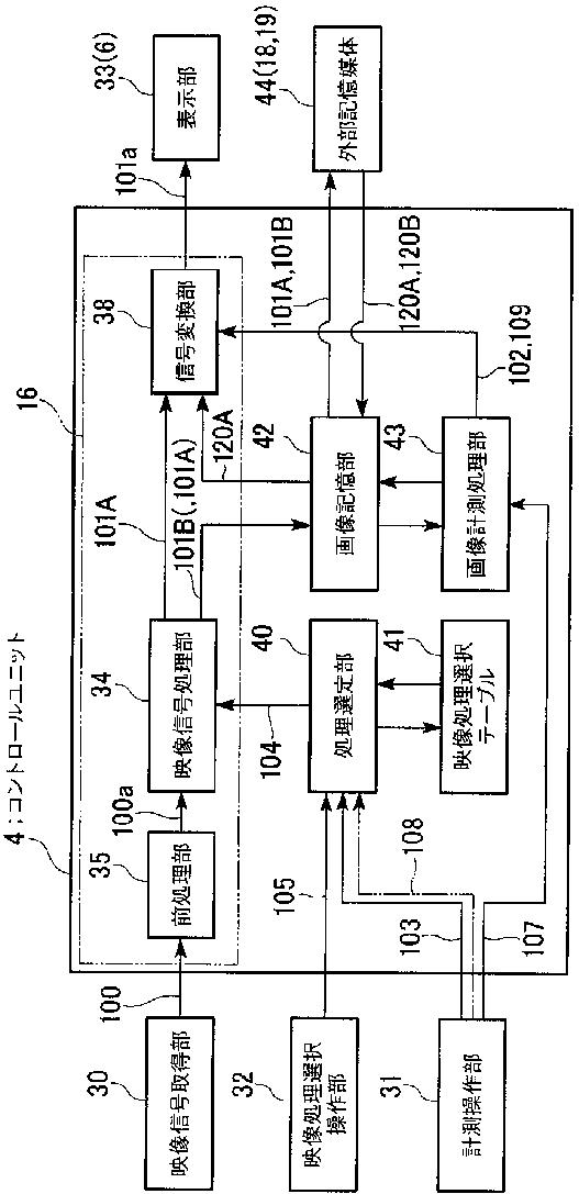
画像計測装置および方法
授权日
1900-01-01
公开(公告)号
JP2007283090A
申请日
2007-03-16
公开(公告)日
2007-11-01
当前申请(专利权)人
オリンパス株式会社
发明人
堀 史生
简单同族
JP2007283090A | JP5199594B2 | US20080015412A1 | US8619125
简单同族成员数量
4
简单同族被引用专利总数
24
诉讼案件数
0
法律状态/事件
授权 | 权利转移
抱歉,您的浏览器不支持PDF预览,请点击链接下载PDF文件