专利数据库
统计分析
产业报告
专利数据监控
产业人才
行业动态
产业政策法规
维权援助
个人中心
详情
文本
图像
标题
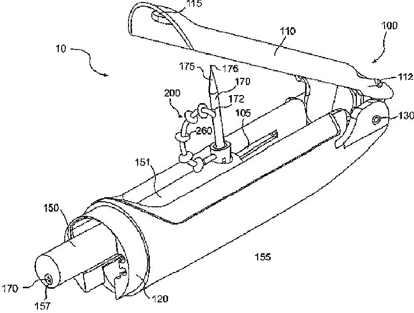
胃食道逆流疾患を治療する内視鏡式胃底皺襞形成装置および方法
授权日
1900-01-01
公开(公告)号
JP2005529710A
申请日
2003-06-17
公开(公告)日
2005-10-06
当前申请(专利权)人
ボストン サイエンティフィック リミテッド
发明人
グリゴリアンツ,サージー エス. | ブ,リーム ティー.
简单同族
AT368421T | AT462358T | AU2003251532A1 | AU2003251532B2 | CA2460633A1 | DE60315294D1 | DE60315294T2 | DE60331977D1 | EP1513457A2 | EP1513457B1 | EP1844716A2 | EP1844716A3 | EP1844716B1 | EP1844716B2 | JP2005529710A | JP2005529710A5 | JP4358105B2 | US20030236536A1 | US20070010836A1 | US20110276063A1 | US20130317524A1 | US20160081687A1 | US7125413 | US7963974 | US8523886 | US9226746 | US9931112 | WO2004000129A2 | WO2004000129A3
简单同族成员数量
29
简单同族被引用专利总数
176
诉讼案件数
0
法律状态/事件
授权
抱歉,您的浏览器不支持PDF预览,请点击链接下载PDF文件