专利数据库
统计分析
产业报告
专利数据监控
产业人才
行业动态
产业政策法规
维权援助
个人中心
详情
文本
图像
标题
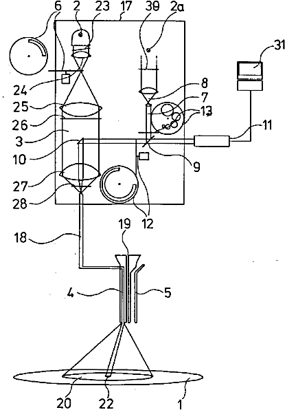
組織の撮像および分光診断のための装置
授权日
1900-01-01
公开(公告)号
JP2003052624A
申请日
2002-07-25
公开(公告)日
2003-02-25
当前申请(专利权)人
リチャード ウルフ ゲーエムベーハー
发明人
ベルント クラウス ヴェーバー | トーマス ゴル | オラフ シュミット | フィリップ アイトナー | ステファン ミューラー | ニコラス ペライラ デルガド | ディーアール. ルッツ フライタク
简单同族
AT266352T | CN1230116C | CN1398571A | DE10136191A1 | EP1279364A2 | EP1279364A3 | EP1279364B1 | ES2221662T3 | JP2003052624A | KR1020030010537A | US20040019281A1
简单同族成员数量
11
简单同族被引用专利总数
50
诉讼案件数
0
法律状态/事件
驳回
抱歉,您的浏览器不支持PDF预览,请点击链接下载PDF文件